-
188-9835 7350 -

友情链接:
18650锂电池盖帽哪部分需要激光焊接,结构是怎么样的?
我们所说的电池盖帽,一般是指18650锂电池盖帽,一个小小盖帽也需要激光焊接加工,那到底是哪个部位需要 焊接的,他的结构是怎么样的,相信很多少接触这类电池配件的同学不太说明这些原理,甚至连电池盖帽是啥都 不明白吧,小编做为深圳新华鹏电池盖帽激光焊接设备的生产厂家一员,其实也不是从事电池技术方面,但对这 方面的知识还是比较了解的,甚至乐观点比18650锂电池厂家的技术员更懂一些吧(实在太过份了)。
锂电池盖帽其实也有多种类型,但大体结构跟原理都一样,它起的作用有很多,它能起到锂电池正极导电,起到 安全阀门的作用,同时也可以封装电池的结构功能,上面这些功能都由电池盖帽来负责,其中最重要的作用就是 防止电池气压过高,能适时排气的作用,所以,激光焊接盖帽的质量要求是比较严格的,市场上己经有很多专业 用于焊接电池盖帽的激光焊接机。
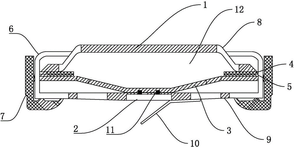
电池盖帽的结构如下图所示(不同厂家有所差别,但原理基本是一致的)

18650锂电池盖帽包括1、钢帽;2、连接片;3、防爆片;4、铝环;5、内环;6、翻卷边;7、绝缘密封圈;8、泄气 孔;9、通气孔;10、极耳;11、凹槽;12、缓冲腔。
其中连接与防爆片是需要激光进行焊接的,它涉及到用户焊接的点数,有些厂家要求焊接四个点,也有,六个点 或八个点的,其实都是激光脉冲焊接!
电池厂家并不是所有的电池配件都能生产,其实他们都是分工合作的,有些电池厂家只是生产电池盖帽,有些只 是生产电芯或封装,像动力电池生产厂家就是采购电芯自己进行封装的,结果控制线路板,实现锂电池的拼装或 串联,以达到需求的额定功率与容易,动力电池是由多个电池模组拼装而成,而电池模组则是由多个电芯结合, 这是对大型动力电池而言,小型的动力电池有时可能就只是一个电池模组的大小。

新华鹏在电池焊接加工设备研发生产方面入行还是比较早的,正是其瞄准了国家新能源的发展趋势,早有10多年 前就一直为之准备,通过不断的摸索进取,结合新能源汽车电池的实际需求,先后研制生产了电池盖帽,电池极 耳,动力电池PACK汇流排,电池模组激光焊接设备系统等,己成为国内80%电池生产厂家电池焊接解决方案的 合作伙伴,为国内合作伙伴提供了上千套锂电池,动力电池的焊接加工自动化解决方案,是国内一线设备生产厂 家,也是深圳市创新技术企业,政府优先支持的重要企业之一!
出于技术保密,更多电池配件激光焊接设备请来我司参观访问,欢迎你的光临!
【以上内容为源创,转载需注明来源:深圳新华鹏激光设备】